Bãi đậu xe ô tô thông minh đang trở thành giải pháp hạ tầng được nhiều doanh nghiệp vận tải, chủ đầu tư bất động sản và cơ quan quản lý đô thị quan tâm. Việc tuân thủ tiêu chuẩn thiết kế bãi đậu xe ô tô không chỉ đảm bảo an toàn giao thông mà còn tối ưu diện tích, giảm chi phí vận hành và nâng cao trải nghiệm người dùng. Bài viết này cung cấp các quy chuẩn kỹ thuật cập nhật năm 2026, phù hợp với xe tải JAC và các loại xe thương mại.
Kích Thước Tiêu Chuẩn Xe Ô Tô Thương Mại
Minh họa kích thước thực tế xe ô tô thương mại
Minh họa kích thước thực tế xe ô tô thương mại
Theo TCVN 4054:2005 và bổ sung 2026, kích thước xe ô tô tải nhẹ (dưới 3.5 tấn) như JAC X5, JAC N200:
- Chiều dài (A): 4.75m – 5.5m (xe tải nhẹ), 6m – 7.5m (xe tải trung)
- Chiều rộng (B): 1.80m – 2.2m
- Chiều cao (C): 1.70m – 2.5m (tùy thùng xe)
- Khoảng mở tối thiểu (D): 0.50m
- Khoảng cách trục bánh (E): 2.90m – 3.3m
- Đường kính vòng quay (H): 13m – 16m (xe tải cần không gian lớn hơn xe con)
- Khoảng sáng gầm (K): 0.15m – 0.20m
Lưu ý quan trọng: Xe tải thương mại có bán kính quay lớn hơn 20-30% so với xe con, yêu cầu lối đi rộng hơn khi thiết kế bãi đậu.
Quy Chuẩn Kích Thước Ô Đậu Xe Theo Loại Hình
Bãi Đậu Xe Thông Dụng (Góc Vuông 90°)
Bãi đỗ xe ô tô thông dụng góc vuông
Bãi đỗ xe ô tô thông dụng góc vuông
Kích thước ô đậu xe tải nhẹ:
- Chiều dài (L): 6m – 7m (xe tải cần thêm 0.5m – 1m so với xe con)
- Chiều rộng (M):
- Tiêu chuẩn: 2.5m – 3m
- Thời gian ngắn: 2.4m – 2.7m
- Thời gian dài: 2.7m – 3.2m
- Người khuyết tật: 3.5m – 4m
- Lối đi (N):
- 1 chiều: 7m – 9m (xe tải cần 8m tối thiểu)
- 2 chiều: 8m – 11m
Ưu điểm: Tận dụng diện tích tốt, phù hợp bãi xe doanh nghiệp vận tải.
Nhược điểm: Khó di chuyển khi bãi đông, yêu cầu tài xế có kinh nghiệm.
Bãi Đậu Xe Góc Chéo 45°
Mô phỏng bãi đỗ xe góc 45 độ
Mô phỏng bãi đỗ xe góc 45 độ
Tiêu chuẩn thiết kế bãi đậu xe ô tô dạng 45 độ
Tiêu chuẩn thiết kế bãi đậu xe ô tô dạng 45 độ
Kích thước ô đậu xe góc 45°:
- Cạnh góc vuông: 8.5m – 9.5m (xe tải)
- Chiều rộng ô: 2.5m – 3.2m
- Lối đi: 4.5m – 5.5m
Ưu điểm: Dễ vào/ra, giảm thời gian đỗ xe 30-40%, phù hợp bãi xe công cộng.
Nhược điểm: Tốn diện tích hơn góc vuông 15-20%.
Bãi Đậu Xe Song Song
Tiêu chuẩn thiết kế bãi đậu xe ô tô dạng song song
Tiêu chuẩn thiết kế bãi đậu xe ô tô dạng song song
Kích thước ô đậu xe song song:
- Chiều dài: 6.5m – 8m (xe tải)
- Chiều rộng: 2.5m – 3m
- Lối đi: 3.5m – 4.5m
Ưu điểm: Tiết kiệm chiều rộng, phù hợp đường phố hẹp.
Nhược điểm: Khó đỗ nhất, tốn thời gian, không khuyến nghị cho xe tải.
Bãi Đậu Xe Cao Tầng Cơ Khí
Tiêu chuẩn thiết kế bãi xe ô tô cao tầng
Tiêu chuẩn thiết kế bãi xe ô tô cao tầng
Hệ thống nâng 2-4 xe (trên mặt đất):
- Chiều dài lòng tối thiểu: 5.4m – 6.5m (xe tải nhẹ)
- Chiều cao tầng 1: 4.5m – 5m
- Chiều cao mỗi tầng trên: 1.8m – 2.2m
Thiết kế bãi xe cao tầng ngầm
Thiết kế bãi xe cao tầng ngầm
Hệ thống nâng 2-4 xe (ngầm dưới đất):
- Chiều dài: 5.1m – 6m
- Chiều cao từ sàn hầm đến tầng 2: 5.2m – 6m
- Chiều cao mỗi tầng: 1.8m – 2m
Tiêu chuẩn bãi xe cao tầng 3 tầng
Tiêu chuẩn bãi xe cao tầng 3 tầng
Hệ thống nâng 3-6 xe (ngầm):
- Chiều dài: 5.1m – 6m
- Chiều cao tổng (3 tầng): 9m – 10.5m
Lưu ý: Hệ thống cơ khí không phù hợp xe tải trên 2 tấn do giới hạn tải trọng (thường 2.5 tấn/ô).
Phương Án Bố Trí Bãi Đậu Xe Tối Ưu
Bố Trí Bãi Xe Thông Dụng (Lối Rộng)
Cách bố trí bãi đỗ xe thông dụng
Cách bố trí bãi đỗ xe thông dụng
Thông số kỹ thuật:
- Chiều dài ô: 6m – 7m (xe tải)
- Chiều rộng ô: 2.7m – 3.2m
- Lối đi: 7m – 9m (đảm bảo bán kính quay)
Áp dụng: Bãi xe doanh nghiệp vận tải, kho bãi logistics.
Bố Trí Bãi Xe Rộng Với Lối Hẹp
Bố trí bãi đậu xe với lối hẹp
Bố trí bãi đậu xe với lối hẹp
Thông số kỹ thuật:
- Chiều dài ô: 6m – 7m
- Chiều rộng ô: 3m – 3.5m (tăng 0.3m – 0.5m để bù lối hẹp)
- Lối đi: 4.5m – 5.5m
Áp dụng: Diện tích hạn chế, ưu tiên số lượng ô đậu.
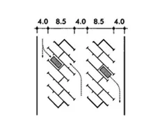
Bố Trí Bãi Xe Góc 45° (Một Chiều)
Bố trí bãi đậu xe 45 độ
Bố trí bãi đậu xe 45 độ
Thông số kỹ thuật:
- Cạnh góc vuông: 8.5m – 9.5m
- Chiều rộng ô: 2.7m – 3.2m
- Lối đi: 4.5m – 5.5m
Áp dụng: Bãi xe công cộng, trung tâm thương mại, bến xe.
Bố Trí Bãi Xe Góc 45° (Hai Chiều)
Bố trí bãi đậu xe ô tô chạy xuyên
Bố trí bãi đậu xe ô tô chạy xuyên
Thông số kỹ thuật:
- Cạnh góc vuông: 6m – 7m
- Chiều rộng ô: 2.7m – 3.2m
- Lối đi: 3m – 4m (xe chạy xuyên, không cần quay đầu)
Áp dụng: Bãi xe dài, lưu lượng cao, cần tối ưu thời gian.
Khuyến Nghị Thiết Kế Cho Xe Tải JAC
Đối với xe tải nhẹ JAC (dưới 2 tấn):
- Ưu tiên góc 45° hoặc vuông 90° với lối đi 7m – 8m
- Chiều dài ô: 6.5m – 7m
- Chiều rộng ô: 2.8m – 3.2m
Đối với xe tải trung JAC (2-5 tấn):
- Bắt buộc góc vuông 90° với lối đi 8m – 10m
- Chiều dài ô: 7m – 8.5m
- Chiều rộng ô: 3m – 3.5m
Lưu ý: Các thông số trên là tham khảo. Liên hệ OTO JAC Việt Nam để nhận tư vấn thiết kế bãi xe phù hợp với loại xe cụ thể.
Việc tuân thủ tiêu chuẩn thiết kế bãi đậu xe ô tô theo TCVN 4054:2005 và các quy chuẩn bổ sung 2026 giúp tối ưu diện tích, đảm bảo an toàn và nâng cao hiệu quả vận hành. Đối với xe tải thương mại, cần tăng 15-30% kích thước so với xe con để đảm bảo khả năng cơ động.
Ngày cập nhật gần nhất 16/03/2026 by Vỹ Nhân

Vỹ Nhân là chuyên viên phát triển nội dung tại OTOJAC24H.COM, kênh thông tin chính thức của JAC Việt Nam – CN Miền Bắc. Với niềm đam mê sâu sắc đối với các dòng xe tải và xe chuyên dụng, cùng hơn 8 năm kinh nghiệm lăn lộn trong ngành ô tô.
