Ô tô đã trở thành phương tiện di chuyển thiết yếu, mang lại sự tiện lợi và linh hoạt. Tuy nhiên, sự gia tăng nhanh chóng của số lượng xe cũng kéo theo thách thức lớn về không gian đỗ xe, đặc biệt tại các đô thị lớn. Việc nắm vững các tiêu chuẩn về kích thước bãi đỗ xe ô tô là vô cùng quan trọng để đảm bảo an toàn và tối ưu hóa không gian. Bài viết này sẽ cung cấp hướng dẫn chi tiết về các tiêu chuẩn kích thước, giúp bạn hiểu rõ hơn về cách thiết kế và tìm kiếm bãi đỗ xe hiệu quả. Chúng ta sẽ cùng tìm hiểu về các yếu tố ảnh hưởng đến việc bố trí bãi đỗ xe, từ kích thước xe tiêu chuẩn đến các loại hình bãi đỗ khác nhau. Việc tuân thủ các quy định về thiết kế bãi đỗ xe không chỉ giúp tránh va chạm mà còn nâng cao trải nghiệm người dùng.
Kích Thước Tiêu Chuẩn Của Một Chiếc Xe Ô Tô
Trước khi đi sâu vào các tiêu chuẩn bãi đỗ, việc hiểu rõ kích thước trung bình của một chiếc ô tô là cần thiết. Kích thước xe thường được xác định bởi ba thông số chính: chiều dài, chiều rộng và chiều cao. Những thông số này là cơ sở để quy định tiêu chuẩn bãi đỗ xe.
Các Thông Số Kỹ Thuật Cơ Bản
Một chiếc ô tô thông thường có các kích thước sau:
- Chiều dài xe (A): Khoảng 4.75 mét.
- Chiều rộng xe (B): Khoảng 1.80 mét.
- Chiều cao xe (C): Khoảng 1.70 mét.
- Khoảng mở tối thiểu (D): Khoảng 0.50 mét, đảm bảo cửa xe mở an toàn.
- Khoảng cách giữa 2 trục bánh xe (E): Khoảng 2.90 mét.
- Khoảng cách từ đầu xe đến trục bánh trước (F): Khoảng 0.90 mét.
- Khoảng cách từ đuôi xe đến trục bánh sau (G): Khoảng 1.10 mét.
- Đường kính vòng quay xe (H): Khoảng 13 mét, là bán kính quay tối thiểu.
- Khoảng cách từ tâm đường kính quay đến tường (J): Khoảng 14 mét khi xe quay vòng.
- Khoảng sáng gầm xe (K): Khoảng 0.10 mét, ảnh hưởng đến khả năng di chuyển trên địa hình.
Tiêu chuẩn kích thước thiết kế ô tô phổ biến
Các thông số trên cung cấp cái nhìn tổng quát về kích thước tiêu chuẩn của một chiếc xe ô tô. Chúng là yếu tố quan trọng trong việc thiết kế và sử dụng xe. Việc này giúp xe di chuyển và vận hành an toàn trong nhiều điều kiện giao thông.
Tiêu Chuẩn Kích Thước Cho Các Loại Bãi Đỗ Xe Ô Tô
Thiết kế bãi đỗ xe phù hợp với kích thước xe ô tô là yếu tố then chốt. Điều này đảm bảo an toàn và thuận tiện cho người sử dụng. Dưới đây là các tiêu chuẩn kích thước phổ biến cho nhiều loại bãi đỗ.
Bãi Đỗ Xe Thông Dụng
Bãi đỗ xe thông dụng cần tuân thủ các tiêu chuẩn kích thước nhất định. Điều này nhằm đảm bảo an toàn và hiệu quả sử dụng.
Tiêu chuẩn kích thước cho bãi đậu xe thông dụng
Các thông số cụ thể bao gồm:
- Chiều dài chỗ đậu xe (L): Từ 4.75 mét đến 5.5 mét.
- Chiều rộng chỗ đậu xe (M):
- Tiêu chuẩn: Từ 2.4 mét đến 2.75 mét.
- Thời gian ngắn: Từ 2.3 mét đến 2.6 mét.
- Thời gian dài: Từ 2.5 mét đến 2.75 mét.
- Dành cho người khuyết tật: Từ 3 mét đến 3.5 mét.
- Chiều rộng lối đi ô tô (N):
- Làn đường một chiều: Từ 6 mét đến 9.15 mét.
- Làn đường hai chiều: Từ 6.95 mét đến 10.7 mét.
- Chiều rộng tiêu chuẩn của bãi đậu xe (P): Từ 15.5 mét đến 20.1 mét.
Bãi Đỗ Xe Thiết Kế Góc Chéo 45°
Thiết kế bãi đỗ xe góc chéo 45° giúp tiết kiệm diện tích hiệu quả. Nó cũng tăng khả năng sử dụng không gian, tạo sự thuận tiện và an toàn.
- Khoảng cách lối đi giữa hai làn đậu xe: Thông thường là 2.8 mét.
- Kích thước ô đậu xe:
- Bãi đậu xe trong nhà: A: 3m, B: 4.6m, C: 2.3m, D: 3.26m, E: 5m và F: 2.8m.
- Bãi đậu xe ngoài trời: A: 3.39m, B: 5.5m, C: 2.4m, D: 3.89m, E: 5.5m và F (2.8 – 3m).
Bãi Đỗ Xe Thiết Kế Song Song
Bãi đỗ xe song song là một phương án phổ biến. Nó tối ưu hóa không gian, đặc biệt tại các khu vực đô thị.
Tiêu chuẩn kích thước cho bãi đậu xe song song
Các tiêu chuẩn kích thước chung bao gồm:
- Bãi đậu xe song song trong nhà:
- Khoảng cách A: 5.8 mét (giữa hai hàng xe).
- Chiều dài một ô để xe: 4.6 mét.
- Chiều rộng một ô để xe: 2.2 – 2.3 mét.
- Bãi đậu xe song song ngoài trời:
- Khoảng cách A: 6.10 – 6.7 mét.
- Chiều dài một ô để xe: 5.5 mét.
- Chiều rộng một ô để xe: 2.4 mét.
Bãi Đỗ Xe Thiết Kế Cao Tầng
Bãi đỗ xe cao tầng là giải pháp hiệu quả cho khu vực đô thị. Nó giúp giải quyết vấn đề không gian hạn chế.
Bãi đỗ xe tự động cao tầng cho 2 hoặc 4 xe
Các tiêu chuẩn kích thước cơ bản cho bãi đỗ xe cao tầng:
- Bãi đỗ xe tự động cao tầng cho 2 hoặc 4 xe:
- Chiều dài tối thiểu của chỗ để ô tô: 5.4 mét.
- Chiều cao từ sàn hầm đến sàn liền kề: 4.5 mét.
Bãi đỗ xe tự động cao tầng ngầm dưới mặt đất
- Bãi đỗ xe tự động cao tầng ngầm dưới mặt đất:
- Chiều dài chỗ đỗ xe: 5.1 mét.
- Chiều cao từ sàn hầm đến tầng xe thứ hai: 5.2 mét.
- Chiều cao của một tầng để xe: 1.8 mét.
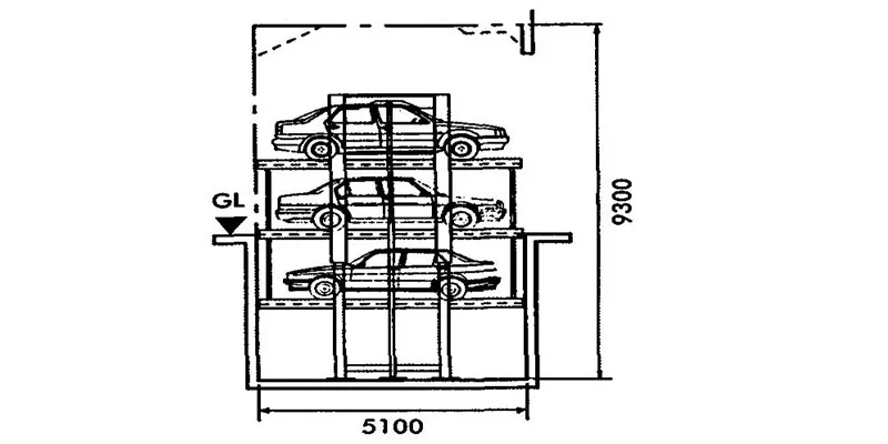
Bãi đỗ xe tự động cao tầng 3 hoặc 6 xe ngầm dưới mặt đất
- Bãi đỗ xe tự động cao tầng 3 hoặc 6 xe ngầm dưới mặt đất:
- Chiều dài của gian để xe: 5.1 mét.
- Chiều cao từ sàn hầm đến nóc của sàn tầng ba: 9 mét.
Các hệ thống bãi đậu xe cao tầng bao gồm hệ thống tháp, hệ thống xoay và hệ thống nâng hạ tự động. Mỗi loại có ưu nhược điểm riêng về không gian và chi phí. Việc tuân thủ tiêu chuẩn kích thước đảm bảo an toàn và hiệu quả sử dụng.
Cách Bố Trí Bãi Đỗ Xe Ô Tô Theo Kích Thước Tiêu Chuẩn
Bố trí bãi đỗ xe cần tuân thủ các tiêu chuẩn kích thước. Điều này nhằm đảm bảo an toàn và thuận tiện cho người sử dụng.
Bố Trí Vuông Góc 90° Và Chéo Góc 45°
Bố trí bãi đỗ xe vuông góc 90° giúp tận dụng tối đa diện tích. Xe dễ dàng ra vào, phù hợp cho bãi đỗ nhỏ. Tuy nhiên, việc lùi xe có thể khó khăn, dễ xảy ra va chạm.
- Bố trí vuông góc 90°:
- Chiều dài một ô đỗ xe: 5.5 mét.
- Chiều rộng tối thiểu một ô đỗ xe: Từ 2.3 mét đến 4 mét.
- Khoảng cách giữa hai ô đỗ xe: 6 mét, đảm bảo bán kính vòng quay xe.
- Bố trí chéo góc 45°:
- Chiều dài cạnh góc vuông ô để xe: 8.5 mét.
- Chiều rộng tối thiểu một ô để xe: 2.3 mét, tối đa 4 mét.
- Khoảng cách lối đi giữa hai ô đậu xe: 4 mét.
Bố Trí Đấu Lưng Nhau 45°
Bố trí bãi đỗ xe đấu lưng nhau 45° giúp tiết kiệm diện tích. Nó phù hợp cho các bãi đỗ xe có diện tích hẹp. Tuy nhiên, cách bố trí này gây khó khăn khi ra vào, dễ va chạm.
- Bố trí đấu lưng nhau 45°:
- Chiều dài cạnh góc vuông ô để xe: 8.5 mét.
- Chiều rộng tối thiểu một ô để xe: 2.3 mét, tối đa 4 mét.
- Khoảng cách lối đi giữa hai ô đậu xe: 4 mét.
Bố Trí Bãi Đỗ Xe Thông Dụng
Bố trí bãi đỗ xe thông dụng cần diện tích lớn. Tuy nhiên, nó giúp xe dễ dàng ra vào và thuận tiện cho việc lùi xe.
- Bố trí bãi đỗ xe thông dụng:
- Chiều dài cạnh góc vuông ô để xe: 6 mét.
- Chiều rộng tối thiểu một ô để xe: 2.3 mét, tối đa 4 mét.
- Khoảng cách lối đi giữa hai ô đậu xe: 2.5 mét.
Bố Trí Chỗ Đỗ Rộng Với Lối Đi Hẹp
Bố trí chỗ đậu xe rộng với lối đi hẹp giúp tiết kiệm diện tích. Nó phù hợp cho các bãi đỗ xe có diện tích nhỏ. Tuy nhiên, cách bố trí này khó khăn cho người mới lái.
- Trong trường hợp diện tích không đủ:
- Chiều dài chỗ để xe: 5.5 mét.
- Chiều ngang một ô đỗ xe: Đảm bảo đủ 3 mét.
- Lối đi giữa hai ô đỗ xe: 4 mét, đủ để di chuyển xe.
Bố Trí Bãi Đỗ Xe Chạy Xuyên Qua 45°
Bố trí bãi đỗ xe chạy xuyên qua 45° phù hợp cho bãi đỗ có lưu lượng xe lớn. Xe dễ dàng ra vào. Tuy nhiên, cách bố trí này cần diện tích lớn và dễ va chạm nếu không chú ý.
- Bố trí bãi đỗ xe chạy xuyên qua 45°:
- Chiều dài cạnh góc vuông ô để xe: 6 mét.
- Chiều rộng tối thiểu một ô để xe: 2.3 mét, tối đa 4 mét.
- Khoảng cách lối đi giữa hai ô đậu xe: 2.5 mét.
Mẹo Tìm Bãi Đỗ Xe Ô Tô Gần Nhất Nhanh Chóng
Tìm bãi đỗ xe gần nhất có thể là một thử thách. Điều này đặc biệt đúng trong những giờ cao điểm. Dưới đây là một số mẹo giúp bạn tìm chỗ đỗ xe nhanh chóng.
Tìm Bãi Đỗ Xe Gần Đây Bằng Google Maps
Google Maps là công cụ hữu ích để tìm kiếm bãi đỗ xe. Bạn có thể dễ dàng xác định vị trí các bãi đỗ gần nhất.
- Mở ứng dụng Google Maps.
- Nhập từ khóa “bãi đậu xe” hoặc “parking” vào ô tìm kiếm.
- Google Maps sẽ hiển thị các bãi đỗ xe gần vị trí của bạn. Nó cũng cung cấp thông tin chi tiết như địa chỉ, khoảng cách và đánh giá.
Tìm bãi đỗ xe gần đây bằng Google Map
Tìm Bãi Đỗ Xe Gần Đây Bằng Google Search
Sử dụng công cụ tìm kiếm Google để tìm bãi đỗ xe. Đây là cách nhanh chóng để có thông tin cần thiết.
- Mở trình duyệt và truy cập trang chủ của Google.
- Nhập từ khóa “bãi đậu xe gần đây” hoặc “parking near me” vào ô tìm kiếm.
- Google sẽ hiển thị danh sách các bãi đỗ xe gần bạn. Nó cũng cung cấp thông tin về địa chỉ, khoảng cách và đánh giá.
Tìm chỗ đậu xe gần đây bằng Google
Tìm Bãi Đỗ Xe Thông Qua Ứng Dụng MyParking
MyParking là ứng dụng chuyên biệt giúp bạn tìm kiếm và đặt chỗ đỗ xe. Nó mang lại sự tiện lợi tối đa.
- Tải và cài đặt ứng dụng MyParking trên điện thoại.
- Mở ứng dụng và cho phép truy cập vị trí hiện tại.
- Ứng dụng sẽ hiển thị các bãi đỗ xe gần bạn. Bạn có thể xem thông tin chi tiết và đặt chỗ trước.
Tìm chỗ đỗ xe gần đây bằng app MyParking
Ngoài MyParking, bạn có thể sử dụng các ứng dụng khác. Ví dụ như ParkMe, SpotHero và ParkWhiz.
Những Lưu Ý Quan Trọng Khi Tìm Bãi Đỗ Xe Ô Tô Online
Dưới đây là những lưu ý quan trọng khi tìm bãi đỗ xe ô tô trực tuyến. Việc này giúp bạn có trải nghiệm tốt nhất.
- Kiểm tra đánh giá và đánh giá của người dùng: Điều này giúp bạn có cái nhìn tổng quan về chất lượng và độ an toàn của bãi đỗ xe.
- Xem giờ hoạt động: Đảm bảo bãi đỗ xe bạn chọn mở cửa vào thời gian bạn cần.
- Kiểm tra phí đậu xe: Một số bãi đỗ xe có thể có phí khác nhau. Hãy kiểm tra trước để tránh bất ngờ.
Một số lưu ý khi tìm kiếm chỗ đậu xe ô tô trực tuyến
- Lên kế hoạch trước: Nếu bạn biết trước rằng bạn sẽ cần chỗ đỗ xe, hãy tìm và đặt chỗ trước. Điều này đảm bảo bạn có chỗ đỗ khi đến nơi.
- Đọc kỹ điều khoản: Đọc kỹ các điều khoản và điều kiện của dịch vụ trước khi sử dụng.
Việc hiểu rõ các tiêu chuẩn về kích thước bãi đỗ xe ô tô và áp dụng các mẹo tìm kiếm hiệu quả sẽ giúp bạn tìm được chỗ đỗ xe nhanh chóng và thuận tiện. Điều này tránh những phiền toái không đáng có.
Ngày cập nhật gần nhất 20/01/2026 by Vỹ Nhân

Vỹ Nhân là chuyên viên phát triển nội dung tại Otojac24h.com, kênh thông tin chính thức của JAC Việt Nam – CN Miền Bắc. Với niềm đam mê sâu sắc đối với các dòng xe tải và xe chuyên dụng, cùng hơn 8 năm kinh nghiệm lăn lộn trong ngành ô tô.
